English
日本語
简体中文
繁體中文
关于我们
关于固也泰
最新信息
历史沿革
全球行销据点
为什么选择固也泰
固也泰电子郑重声明
产品列表
发电机自动调压板 (AVR)
电源自动切换开关 (ATS)
电瓶自动充电器
发电机组自动控制模块
远端监控系统
引擎自动电子调速器
发电机周边产品
停产产品
下载专区
知识专区
发电机研习网 (TW)
测试报告
联系我们
会员中心
* 输入完成后请按 Enter 键
CH4612 / CH4624
产品咨询
首页
产品列表
电瓶自动充电器
CH4612 / CH4624
工业用自动电瓶充电器
CH46自动电瓶充电器专为胶体电池、浸没(湿)式铅酸电池、AGM电池设计。具盘面告警LED,能实时显示充电电压、电流、及故障告警。适用于备用发电机系统及其他工业应用。
特色
UL1236认证采智能型切换模式
全时自动充电
零件温度过高将自动降低输出功率
低电压监控并提供盘面告警指示与电池(-)极电气告警信号输出
具充电电压及电流显示
短路及反极性逆接保护
防止电瓶逆流放电
内建交流电源微型保护熔丝
面板安装(Panel Mount)或轨道(DIN Rail)安装
技术参数
技术参数
AC输入
电压 100 – 277 Vac
频率 47 – 63 Hz
电流
CH4612 : 1.6A
CH4624 : 1.8A
DC输出
CH4612 电压 13.6 Vdc 电流 最大5A
CH4624 电压 27.2 Vdc 电流 最大3A
直流电压变动率
小于 +/-1%
充电模式
浮动充电
告警信号容量
电池(-)极0.5A @ 40 Vdc
适用电池类型
胶体电池、铅酸电池、AGM电池
效率
满载时大于80%
保护功能
定电压 、限电流、短路及反极性逆接保护
工作环境
操作温度
-20 至 +60 °C
储存温度
-30 至 +80 °C
相对湿度
90%以下
振动
5.0 Gs @ 60 Hz
物理特性
尺寸
175.0 (L) x 115.0 (W) x 60.0 (H) mm
7.0 (L) x 4.5 (W) x 2.4 (H) inch
重量
0.52 Kg +/-2%
1.15 lb +/-2%
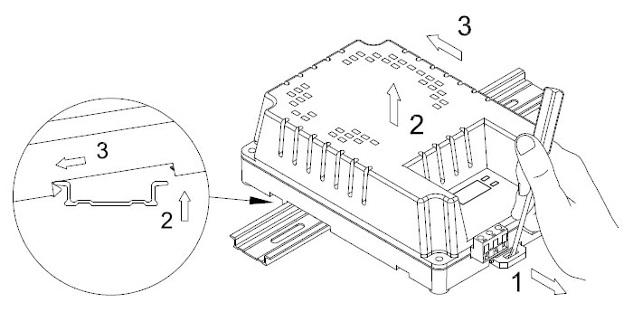
DIN Rail轨道安装说明
安装示意图
卸下示意图
下载
目录
用户手册